Технические характеристики пропанового редуктора БПО 5-3
Редуктор пропановый БПО 5-3 выпускается предприятием Krass. Сохраняя общие для пропанового редуктора принципы работы, он выгодно отличается от бюджетного БПО 5-2:
- Вес 0,67 кг.
 - Длина × Ширина × Высота 164 × 108 × 136мм.
 - Рабочая температура -15+45˚С.
 - Максимальное давление на входе 25 кг/см3.
 - Рабочее давление, 4 кг/см3.
 - Максимальный расход газа 5 м3/час.
 - Способ подключения W 21,8-14 ниток на 1″ LH.
 - Рабочий выход М16х1,5 LH.
 

Технические характеристики пропанового редуктора БПО 5-3
Редуктор пропановый БПО 5-3 производства Krass заслуженно считается уже не любительским, а профессиональным устройством.
Следует отметить, что под именем БПО 5-3 Ridius выпускает свой пропановый редуктор и дочерняя компания Вырицкого завода металлоизделий, однако характеристики и материалы корпуса, применяемые Ridius, не позволяют отнести их продукцию к классу профессиональных.
Назначение баллонного пропанового редуктора БПО 5-3
Пропановый редуктор БПО 5-3 используется для понижения, стабилизации и управления напором напором бытового газа, подаваемого из стандартных баллонов таким потребителям, как сварочные горелки и резаки, обогреватели и большое количество других разновидностей потребителей.
Комплектность газового пропанового редуктора БПО 5-3
- устройство в сборе;
 - ниппель для подключения шлангов диаметром 6,3 или 9 мм;
 - гайка;
 - техпаспорт изделия;
 - упаковочная коробка.
 

Комплектность газового пропанового редуктора БПО 5-3
Преимущества баллонного пропанового редуктора БПО 5-3
- точная установка рабочего давления
 - лазерное нанесение параметров на корпус
 - эргономичный регулировочный маховик
 - штрих-код производителя на корпусе упрощает учет, логистику и комплектацию заказов для продавца
 
Устройство и принцип работы пропанового редуктора БПО 5-3
Пропановый адаптер исполнен по однокамерной схеме, однако отличается большей площадью мембраны, большим ходом штока и большим размером маховика. Все эти конструктивные преимущества позволяют точнее выставлять и регулировать рабочее давление.
Корпус пропанового редуктора выполнен целиком из латуни, что повышает прочность, надежность и удлиняет срок эксплуатации
Меры безопасности при работе с пропановым редуктором БПО 5-3
Меры безопасности также совпадают с мерами для БПО 5-2, однако, ввиду более высокого рабочего давления необходимо тщательно следить за тем, чтобы не превысить допустимые параметры — потребителей .
Назначение баллонного пропанового редуктора БПО 5-2
Пропановый редуктор БПО 5-2 используется для снижения и стабилизации напора бытового газа, подаваемого из стандартных баллонов таким потребителям, как сварочные горелки и резаки, обогреватели и большое количество других разновидностей потребителей.
 Устройство и принцип работы пропанового редуктора БПО 5-2
Этот пропановый редуктор построен по однокамерной схеме, на входе имеет патрубок с резьбовой накидной гайкой для присоединения к баллону. Корпус отлит из алюминиевого сплава, крышка корпуса изготовлена из полиамида.
https://youtube.com/watch?v=eXophZ3QC3M
Особенностью исполнения пропанового редуктора являются его малые размеры и вес, что делает БПО 5-2 удобным в перевозке и хранении.
 Технические характеристики пропанового редуктора БПО 5-2
Пропановый редуктор производится старейшим в стране изготовителем газового оборудования — заводом «Нева»:
Технические характеристики редукторов
- Вес 0,34 кг.
 - Длина × ширина × высота 135 × 105 × 96мм.
 - Рабочая температура -15+45˚С.
 - Максимальное давление на входе 25 кг/см3.
 - Рабочее давление 3 кг/см3.
 - Максимальный расход газа, 5 м3/час.
 - Способ подключения W 21,8-14 ниток на 1″ LH.
 - Рабочее подключение М16х1,5 LH.
 
 Комплектность газового пропанового редуктора БПО 5-2
В комплект поставки входят:
- Пропановый редуктор в сборе.
 - Технический паспорт.
 - Ниппель под рукав 6,3 или 9 мм.
 - Упаковка.
 
 Меры безопасности при работе с пропановым редуктором БПО 5-2
Пропан является источником повышенной опасности. Чтобы сознательно следовать требованиям безопасности, надо понимать, какие именно угрозы несет в себе сам газ и использующие его устройства:
Меры безопасности при работе с пропановым редуктором БПО 5-2
- Прежде всего, пропан огнеопасен. Неправильное обращение с ним может вызвать серьезную угрозу жизни и здоровью людей, а также материальным ценностям.
 - Пропаном нельзя дышать. В атмосфере пропана человек погибает. При вдыхании небольших количеств он приводит к отравлению, вызывающему головную боль и рвоту.
 - Пропан взрывоопасен при определенных условиях, при достижении определенной концентрации пропана в воздухе происходит объемный взрыв. Взрыв также происходит при резком повышении температуры в баллоне.
 - При быстром истечении пропана из баллона в атмосферу происходит сильное понижение температуры, которое может привести к тяжелым и глубоким обморожениям.
 
Правила для работы с пропановым баллоном
Чтобы избежать этих неприятных последствий, при работе с пропаном необходимо соблюдать следующие правила:
- Не работать с пропаном рядом с источниками открытого огня или сильного нагрева.
 - Не вносить в зону работы другие легковоспламеняющиеся вещества.
 - Не использовать рядом с пропаном несовместимые с ним химически материалы, такие, как нитраты и перхлораты.
 - Не использовать газовое оборудование и арматуру, имеющее видимые механические повреждения и признаки утечки газа.
 
 Правила эксплуатации пропанового редуктора БПО 5-2
Правила эксплуатации содержат, прежде всего, требования неукоснительного соблюдения мер безопасности, перечисленных выше.
Каждый раз перед началом эксплуатации необходимо осмотреть пропановый редуктор, соединительную арматуру, подводящие шланги на предмет наличия механических повреждений и видимых и слышимых признаков утечки. При обнаружении таких признаков начинать эксплуатацию недопустимо, поврежденное оборудование подлежит ремонту или замене.
Правила эксплуатация пропанового редуктора
Если стрелка манометра не двигается или , наоборот, скачет при постоянном расходе газа — он неисправен и подлежит замене.
Необходимо также внимательно следить за сроком проведения плановой поверки манометра пропанового редуктора на соответствие паспортным техническим требованиям. Такая проверка должна осуществляться специальной сертифицируемой организацией не реже одного раза в пять лет.
Кроме того, необходимо соблюдать порядок подключения пропанового редуктора к баллону и к потребляющим устройствам. Не реже раза в месяц нужно проверять состояние фильтра и при необходимости очищать его.
Правила безопасности при работе с газовыми горелками для кровли
При эксплуатации газовых горелок необходимо строго соблюдать правила безопасности.
Для проведения кровельных работ надо переодеться в особую спецодежду и обувь с нескользящей подошвой. Понадобятся также некоторые дополнительные приспособления: ходовые мостики, пояс и т. д.
До начала проведения работ надо провести тщательный внешний осмотр, чтобы убедиться в полной исправности газовых горелок, баллонов, соединительных шлангов.
В ходе эксплуатации газовой горелки на рабочем месте может находиться только один газовый баллон. В течение работы надо внимательно следить за сохранением герметичности соединения баллонов и редукторов со шлангами.
Во время поджигания горелки нельзя стоять перед соплом. Направление пламени горелки должно быть таким, чтобы оно не задевало находящихся поблизости людей, баллон с газом и соединительные шланги.
В процессе работы с наплавляемыми материалами надо следить за тем, чтобы они не перегревались и не воспламенялись. Нагревая материал с помощью данного устройства, надо добиваться того, чтобы расплавлялась лишь нижняя часть полотна. Нельзя допускать того, чтобы размягчалась вся толща материала.
Поджигание горелки нельзя осуществлять от нечаянно загоревшихся предметов. С этой целью можно использовать только спички или зажигалку.
При эксплуатации пропановой модели горелки вентиль приоткрывается не на полный оборот, а наполовину. Подождав несколько секунд, смесь можно поджигать, после чего перейти к регулировке длины пламени.
Рабочий с зажженной горелкой в руках не имеет права выходить за границы рабочего места или подниматься по лесам.
Неисправности газового редуктора, ремонт
Неисправности редуктора газового могут быть связаны с несоответствием номинала давления пропана или газовой смеси на выходе, влекущие деформацию и повреждение внутренних элементов регулятора: мембрану, пружину, торец перепускного клапана и утечку газа.
Естественно, для определения причины неисправности потребуются определенные знания и навыки. Узнать причину неисправности и произвести самостоятельный ремонт можно, отсоединив арматуру и разобрав корпус регулятора.
Подскажем, что для определения уровня давления рекомендуется воспользоваться параметрами:
- размерами мембраны редуктора
 - типом и характеристиками редуцирующей пружины
 - механическим усилием для закрывания перепускного редуцирующего клапана.
 
Подскажем, что редуктор «лягушка» являет собой нерегулируемый вариант давления. Более сложные редукционные системы используют для настраиваемых автомобильных систем.
замена мембраны
Мембрана редуктора НЗГА РДСГ-1-1.2 представляет собой вкладыш круглой формы из промасленного резинотканевого маслобензостойкого полотна толщиной δ=3 мм, закрепленный по разметке окружности крышкой корпуса.
Возможной причиной дефекта является нарушение герметичности между мембраной и корпусом. Неисправность устраняют для создания лучшего прилегания мембраны, смазав край нижней корпусной части герметиком. Надмембранная часть корпуса имеет верхнее отверстие, обеспечивающее сообщение со средой.
замена пружины редуцирующей
В редукторе для газовых баллонов используют длинную пружину редукционную 1 степени параметрами D=15,5, d=1,4, количеством витков 12-14, уравновешивающую усилие мембраны и входного клапана в рабочем состоянии.
Причин неисправности редуцирующей пружины несколько: сломалась, потеряла упругость или растянулась в процессе эксплуатации.
Рекомендуется заменить пружину или установить под нее прокладку соответствующей толщины. Замена пружины редуктора, как и замена прокладки, не вызывают сложности.
Более сложным считают ремонт и регулировку перепускного редуцирующего клапана.
регулировка редуцирующего клапана
Редуцирующий клапан расположен в полости корпуса и осуществляет функцию подачи газа посредством нажатия передаточного звена на обратную пружину. Подачу газа регулируют специальным винтом.
В процессе эксплуатации клапана возможно возникновение неисправностей:
- деформация или разрушение торца трубки
 - нарушение свободного хода коромысла
 - износ прокладки.
 
Регулировка клапана заключается в обеспечение подвижности коромысла и замене изношенной каучуковой прокладки. Обеспечить подвижность коромысла можно путем восстановления (обточка) или заменой шарниров.
Достичь ровной поверхности торца трубки можно путем шлифовки, обеспечивая плотность прилегания замененной прокладки.
В случае разрушения конца коромысла или торца трубки рекомендовано произвести их замену с использованием ремкомплектов арматуры обслуживания газовых баллонов.
Особенности внутренней части редуктора показаны в видео.
Возможную утечку газа через редуктор производят стандартным способом омыливания выходного штуцера в местах расположения уплотнительных прокладок.
Полезные советы
Важно помнить, что редукторы промышленного производства используют при сборке литые присоединительные элементы (накидную гайку), с характерной шероховатой поверхностью литья. Штампованные присоединительные элементы имеют, напротив, гладкую поверхность
Обращаем внимание: на задней крышке регулятора присутствует маркировка, по которой в качестве редуцируемого газа стоит обозначение «пропан». Регулятор давления позволяет произвести переделку прибора в редуктор для газовой горелки
Регулятор давления позволяет произвести переделку прибора в редуктор для газовой горелки.
https://youtube.com/watch?v=jRuGH9JFa0M
Источник
Конкретика
Как уже было замечено, редукторы могут быть бытовыми и промышленными. Также универсальные модели.
Это простые модели. Они используются в быту и на природе. Вместе с домашними газовыми баллонами монтируются изделия РДСГ. Они отличаются очень простой конструкцией. Благодаря чему газ можно задействовать лишь в бытовых плитах. Эти изделия стоят мало и очень надёжны. Ещё существует редуктор типа Лягушка, есть модель РДСГ-1. Их следует применять только в баллонах с объёмом 12 – 50 л.
Класс универсальных настраиваемых редукторов имеет более сложную конструкцию и больший потенциал. Это отличный вариант для бытового применения и для работ в домашнем цеху. Изделия присоединяются к баллонам резьбовым способом, фиксируются надёжно.
Категория профессиональных моделей создаётся из лучших износоустойчивых материалов. У них высочайшее качество сборки и настройки: 0,4 — 1,6 МПа.
Часто многие дачники и любители походов задаются такими вопросами, как: а нужен ли редуктор для газовой горелки? И нужен ли редуктор для газовой плиты на даче? Стабильная и безопасная работа любых газовых приборов и в любых условиях необходима всегда. Даже, если острой необходимости в редукторах там нет, подстраховаться не помешает. Остаётся решить, какой редуктор нужен для газовой плиты.
Так как плита и горелка работают на пропановой основе, нужен пропановый редуктор. Подобрать эти изделия нужно, изучив их и сопоставив их характеристики. Из них ключевые это:
- Назначение прибора.
 - Высшее входное давление.
 - Функциональное давление.
 - Высший расход газа.
 - Метод присоединения.
 - Планируемый эксплуатационный срок.
 - Стоимость.
 
Например, если у вас планируется подключение настольной портативной плитки только по выходным, расход газа по вашим расчётам – 5 л в месяц, то вам нужна ёмкость на 5 л и редуктор Балтика РДСГ-2.
Здесь часто возникают вопросы – а что вообще делает газовый редуктор Лягушка? Почему он так назван? Каково его назначение?
Почему лягушка? Это устройство прямое. В нём газ следует через штуцер. Открывается клапан и прижимается к седлу пружиной. Газ с высоким давлением не проникает в камеру. Мембрана вытесняет клапан из этого седла. Давление плавно снижается до рабочих значений аппарата, к которому монтирован редуктор.
Пружина выпрямляется. Клапан отсоединяется от седла и не мешает потоку газа. При росте давления пружина вновь придавливает клапан, газ не идёт. Такое принцип напоминает прыжки лягушки. Да и по форме прибор на неё похож.
При необходимости подключения композитной ёмкости к тепловому зонтику лучше использовать импортные изделия с разъёмом KLF
Для ведения газовой сварки в домашнем цеху оптимально подходит профессиональная модель БПО 5-3 Krass. Она гарантирует расход максимум 5 м 3 в час и позволит настраивать рабочее давление до 0,4 МПа. И для этой задачи у неё есть маховик и манометр. Благодаря последнему можно скрупулёзно назначать давление под нужды газовой сварочной техники.
Принцип работы газовых редукторов
Принцип действия редуктора определяется его характеристикой. У редукторов прямого действия — падающая характеристика, то есть рабочее давление по мере расхода газа из баллона несколько снижается, у редукторов обратного действия — возрастающая характеристика, то есть с уменьшением давления газа в баллоне рабочее давление повышается.
Редукторы различаются по конструкции, принцип действия и основные детали одинаковы для каждого редуктора.
 
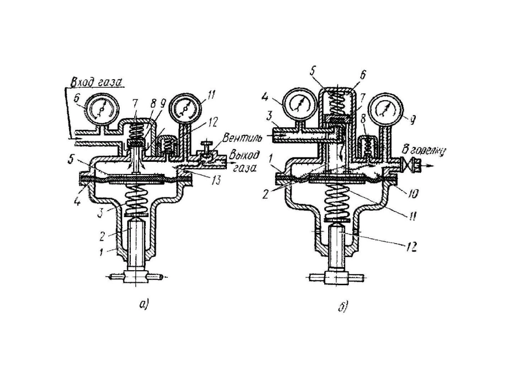
Редуктор обратного действия (рис. 1 а) работает следующим образом. Сжатый газ из баллона поступает в камеру высокого давления 8 и препятствует открыванию клапана 9. Для подачи газа в горелку или резак необходимо вращать по часовой стрелке регулирующий винт 2, который ввертывается в крышку 1. Винт сжимает нажимную пружину 3, которая в свою очередь выгибает гибкую резиновую мембрану 4 вверх. При этом передаточный диск со штоком сжимает обратную пружину 7, поднимая клапан 9, который открывает отверстие для прохода газа в камеру низкого давления 13. Открыванию клапана препятствует не только давление газа в камере высокого давления, но и пружина 7, имеющая меньшую силу, чем пружина 3. Автоматическое поддержание рабочего давления на заданном уровне происходит следующим образом. Если отбор газа в горелку или резак уменьшится, то давление в камере низкого давления повысится, нажимная пружина З сожмётся и мембрана 4 выправится, а передаточный диск со штоком 5 опустится и редуцирующий клапан 9 под действием пружины 7 прикроет седло клапана 10, уменьшив подачу газа в камеру низкого давления. При увеличении отбора газа процесс будет автоматически повторяться. Давление в камере высокого давления 8 измеряется манометром 6, а в камере низкого давления 13 — манометром 11. Если давление в рабочей камере повысится сверх нормы, то при помощи предохранительного клапана 12 произойдет сброс газа в атмосферу.
Помимо однокамерных редукторов применяют двухкамерные, в которых давление газа понижается постепенно в двух камерах редуцирования, расположенных последовательно одна за другой. Двухкамерные (двухступенчатые) редукторы обеспечивают более постоянное рабочее давление и менее склонны к замерзанию, однако они сложнее по конструкции, поэтому двухкамерные (двухступенчатые) редукторы используют тогда, когда необходимо поддерживать рабочее давление с повышенной точностью.
Редукторы прямого действия. В редукторах прямого действия (рис. 1, б) газ через штуцер 3, попадая в камеру высокого давления 6 и действуя на клапан 7, стремится открыть его (а в редукторах обратного действия — закрыть его). Редуцирующий клапан 7 прижимается к седлу запорной пружиной 5 и преграждает доступ газа высокого давления. Мембрана 1 стремится отвести редуцирующий клапан 7 от седла и открыть доступ газа высокого давления в камеру низкого (рабочего) давления 10. В свою очередь мембрана 1 находится под действием двух взаимно противоположных сил. С наружной стороны на мембрану 1 через нажимной винт 12 действует нажимная пружина 11, которая стремится открыть редуцирующий клапан 7, а с внутренней стороны камеры редуктора на мембрану давит редуцированный газ низкого давления, противодействующий нажимной пружине 11. При уменьшении давления в рабочей камере нажимная пружина 11 распрямляется, и клапан уходит от седла, при этом происходит увеличение притока газа в редуктор. При возрастании давления в рабочей камере 10 нажимная пружина 11 сжимается, клапан подходит ближе к седлу и поступление газа в редуктор уменьшается. Рабочее давление определяется натяжением нажимной пружины 11, которое изменяется регулировочным винтом 12. При вывертывании регулировочного винта 12 и ослаблении нажимной пружины 11 снижается рабочее давление и, наоборот, при ввертывании регулировочного винта сжимается нажимная пружина 11 и происходит повышение рабочего давления газа. Для контроля за давлением на камере высокого давления установлен манометр 4, а на рабочей камере — манометр 9 и предохранительный клапан 8.
В практике наибольшее распространение получили редукторы обратного действия как более удобные и безопасные в эксплуатации.
Газовый редукторов для газового баллона, цена и виды
Попробуем выбрать редуктор для газовых баллонов, из тех популярных видов, что пользуются наибольшим спросом среди потребителей. Заглянем на рынок газовых приборов и уточним, какая цена на газовый редуктор для баллона сложилась на конец 2017 года.
Бытовой газовый редуктор РДСГ для стабилизации пропана
Лидирующие позиции на рынке, да и у потребителя на даче, занимает устройство РДСГ-1-1,2 «Лягушка» с резьбовым креплением. Не уступает по популярности редуктор РДСГ-2 «Балтика» с оснащением безрезьбового соединения. Оба лидера представляют простейшую конструкцию. Следствием чего, могут предложить минимально низкую стоимость.
 Паспортные характеристики:
 — входное давление от 0,7 до 15,7 Bar;
 — выходное давление лежит в диапазоне регулировки от 30 до 32 mBar;
 — вес устройства 310 г.;
 — допустимая эксплуатация в диапазоне от -30 до +45 ±3 °C ;
 — характеристика пропускной способности газа — 1,2 м3/час.
 Купить редуктор рдсг 2-1.2 Балтика или рдсг 1-1.2 Лягушка можно до 350 рублей.
| Давление на входе | Давление на выходе | пропускная способность газа м3/час | Масса гр. | Цена руб. | |
| Редуктор М714 | 0 – 20 Bar | 30 mBar | 0,5 | 250 | до 500 | 
| Редуктор N240 | 20 – 60 Bar | 18 mBar | 0,5 | 400 | до 2000 | 
| Редуктор БПО-5 | 2,5 МПа | 0,3 МПа | 5 | 700 | до 1000 | 
| Редуктор БКО-25 | 20 МПа | 0,8 МПа | 25 | 1200 | до 1200 | 
| Редуктор БКО-50 | 20 МПа | 1,25 МПа | 50 | 1450 | до 1500 | 
| Редуктор БВО-80 | 20 МПа | 1,25 МПа | 80 | 2100 | до 1700 | 
| Редуктор РКЗ-250 | 20 МПа | 1,6 МПа | 250 | 6700 | до 17 000 | 
| Редуктор РКЗ-500 | 20 МПа | 1,6 МПа | 500 | 8300 | до 23 000 | 
Остается добавить, что газовый редуктор не является универсальным прибором. Каждая модель может работать только на одном определенном газовом топливе. Перед покупкой тщательно проверяйте документы и паспортные данные. У каждого редуктора есть свое назначение и одни из них рассчитаны на пропан, другие на метан , третьи на аргон и так далее. Взаимозаменяемости у них нет, так что будьте внимательны.
Соблюдение несложных правил техники безопасности сохранит вам имущество, здоровье и обеспечит устойчивую подачу газа из баллона к вашему прибору. В силу невысокой цены, на приборы бытового назначения, советуем вам отдавать предпочтение проверенным изготовителям, с репутацией надежного поставщика.
Не подключайте свое устройство “напрямую” результаты такого подключения скорее всего окажутся для вас неожиданной проблемой. С повышенным вниманием обращайтесь с баллонами внутри которых сжатый газ (закачивают его под под давлением 250 бар). Цена за «Лягушку» совсем не дорогая, чтобы на этом можно было сэкономить
Гораздо благоразумнее ей обзавестись, чем потом тратить деньги на устранение последствий катастрофы.
Предлагаем видео обзор устройства:
Настройка и ремонт
Настройку и ремонт газового редуктора возможно выполнить своими руками при помощи доступных инструментов и ремкомплекта, но только при условии, что вы точно знаете, что делаете. Недостаточно квалифицированная регулировка и сборка могут повлечь за собой пагубные последствия. Основные признаки ненормальной работы изделия таковы:
- отклонение выходного давления от допустимых пределов;
 - утечка газа.
 
Отклонение давления обычно обусловливается поломкой или смещением пружины либо выходом наружу выполняющего ее функцию компенсирующего газа вследствие разгерметизации части корпуса. Но если неисправность пружины еще подлежит устранению при помощи ремкомплекта, то вариант с газом относится к категории неремонтируемых (меняется полностью устройство).
Утечка газа может быть вызвана повреждением мембраны, разгерметизацией корпуса или неработоспособностью поплавкового клапана. Если последний начинает пропускать газ, это может проявиться и в потребляющем изделии (напр., в газовом водонагревателе). Поскольку давление на выходе редуктора приблизительно сравняется с входным, то при отсутствии расхода (потребляющее устройство временно выключено) утечка будет неизбежна.
Подобная неисправность сложно диагностируется по той причине, что включение потребляющего устройства нормализует ситуацию. Определить ее можно лишь путем измерения давления газа на выходе редуктора при отсутствии потребления (как правило, не должно превышать номинальное более чем на 20 %).
Но стоит отметить, что редукторы бывают разборной и неразборной (герметичные) конструкции. Последние подлежат замене лишь целиком.
Итак, запасшись соответствующим ремкомплектом, изделие нужно сначала разобрать. Визуально осмотрев извлеченные из корпуса пружину и мембрану, следует установить, что из них послужило причиной неисправности. Сломанную пружину требуется заменить новой из состава ремкомплекта.
Если пружина не сломалась, а просто поджалась, потеряв упругость от времени, можно не менять ее, а просто подобрать и подложить со стороны корпуса прокладку необходимой толщины, не закрывая ей имеющегося отверстия.
При разрыве мембраны следует произвести замену, воспользовавшись аналогичной из ремкомплекта, но, как правило, герметичное соединение с обкладывающими ее шайбами выполнить непросто. Поэтому, при неуверенности в своем мастерстве, подумайте о целесообразности приобретения нового редуктора.
Это трубка с небольшим отверстием, с торца которой через каучуковую прокладку поджато коромысло. Существует несколько типичных проблем, касающихся работы клапана:
- нарушен нормальный ход коромысла;
 - изношена или повреждена каучуковая прокладка;
 - деформирован торец трубки.
 
Регулировка клапана – процесс несложный. Подвижность коромысла можно восстановить путем обточки или замены его шарниров. Поврежденную прокладку следует срезать и приклеить взамен аналогичную по размерам из состава ремкомплекта. Шероховатость и ровность торца трубки, обеспечивающие плотное прилегание прокладки, достигаются путем его шлифовки.
Если неисправность редуктора заключается в утечке газа вследствие негерметичности мест прилегания мембраны к корпусу, то нарушенная целостность может быть восстановлена при помощи силиконового герметика. При выполнении регулировки или ремонта и по любой другой причине, не связанной изначально с разгерметизацией, не лишним будет также применить герметик в этих местах, что предупредит подобную проблему в дальнейшем.
По завершении ремонтных работ необходимо сразу же проверить герметичность изделия при помощи мыльного раствора. В случае отсутствия пузырей, которые показывают места утечки, следует повторно подвергнуть редуктор этой проверке через один день, затем еще через несколько дней. Впоследствии рекомендуется вести периодический контроль (напр., ежемесячный).
Как и любое другое связанное с газом оборудование, редуктор сослужит хорошую службу при условии правильного выбора модели и принятия простых мер, способствующих безопасной эксплуатации. Периодическое обслуживание и своевременное выявление неисправностей уберегут вас от беды.
Необходимость использования газовых редукторов
Без установки специального устройства – редуктора – давление в автономной газовой сети теряет стабильность и меняется в зависимости от наполнения баллона и состава топлива. Чтобы этого не происходило, и устанавливают прибор с расходомером-манометром, по показаниям которого можно судить о рабочем давлении.
Регулирующее оборудование требует обслуживания и время от времени проходит поверку, которую производят представители обслуживающей организации – службы Горгаза или Облгаза.
Собственники жилья не допускаются к поверке газовых редукторов, но могут контролировать действия рабочих, поэтому разберем по порядку все важные моменты – от конструкции прибора до периодичности вызова газовиков.
Устройство, принцип работы и виды
Конструкция редуктора отличается простотой, но в основе его производства лежит высокая точность изготовления всех элементов.
Устройства у разных производителей могут отличаться, но основные части конструкции остаются одинаковыми.
Детали пропанового устройства:
- металлический или полимерный корпус;
 - присоединительный патрубок с накидной гайкой;
 - рабочий патрубок с резьбой;
 - фильтрующий узел;
 - две камеры, между которыми расположена мембрана;
 - клапан с седлом на штоке;
 - две пружины – задающая и возвратная;
 - манометр.
 
Выделяют два вида пропановых редукторов: 1-ступенчатые и 2-ступенчатые. Отличие состоит в способе понижения напора: в одноступенчатом процесс происходит в один этап, в двухступенчатом – в два. Конструкционное отличие второго – в наличии камеры высокого давления и дополнительного клапана.
Двухступенчатое устройство целесообразно применять для баллонов, у которых на входе высокое давление, но в быту чаще используют одноступенчатые модели.
Чтобы отличить пропановый прибор от кислородного или других, его помечают красным цветом, но встречаются и устройства «металлик».
Принцип работы состоит в регулировке давления. Поступая через патрубок в камеру высокого давления, газ давит на мембрану. Клапан открывается посредством пружины и пропускает топливо в следующий отсек – камеру низкого давления.
Там газ воздействует на мембрану с другой стороны, в результате чего давление приобретает рабочие параметры. Как только это происходит, клапан закрывается. Процесс повторяется по мере изменения параметров.
Соединение с газопроводом, ведущим к газовой плите, осуществляется через входной патрубок. Для бытовых баллонов выпускают устройства с ниппельным отводом с типовым диаметром 6,3 мм. Они дешевле, чем редукторы для сварочного оборудования.
Правила безопасной эксплуатации
Согласно инструкции по безопасной эксплуатации редукторов для газовых баллонов, необходимо соблюдать ряд правил. Перед использованием устройства нужно убедиться в его исправности и обязательно уточнить дату поверки. Если со дня последней поверки прошло больше года, оборудование применять нельзя – необходимо связаться с технической службой и вызвать специалиста.
Разрешен ввод адаптера только с исправным манометром (или манометрами). Для проверки открывают вентиль баллона и следят за стрелками на приборах. Рабочее давление устанавливают, исходя из показаний манометра низкого давления. Для регулировки медленно поворачивают винт.
При закрытом вентиле производить установку рабочих параметров нельзя. Показатели манометра высокого давления пригодятся, когда вы захотите узнать о наличии пропана в баллонах.
Иногда случаются неприятности, при которых следует срочно вызывать аварийную газовую службу, но некоторые мероприятия можно провести самостоятельно. Если редуктор замерзает, его отогревают паром или горячей водой, предварительно перекрыв и изолировав баллон.
Если вы надолго уезжаете из дома, газ необходимо перекрыть – повернуть отсекатель, установленный внутри дома, и обязательно затянуть вентиль баллона.
Нельзя производить следующие действия:
- выполнять сварочные работы вблизи действующего газового оборудования;
 - проверять герметичность открытым огнем – зажигалкой или спичкой;
 - отогревать замерзшую арматуру открытым огнем;
 - устанавливать редукторы другого назначения – например, для кислородных или ацетиленовых баллонов;
 - использовать манометры с неподходящими техническими характеристиками;
 - применять не прошедшие поверку, неисправные манометы.
 
Если устройства или соединения имеют видимые механические повреждения, не рекомендуем использовать автономную сеть – следует вызвать специалиста, который проверит пригодность оборудования и выдаст положительное заключение.
С правилами по безопасной эксплуатации газовых приборов можно ознакомиться в ПБ 03-576-03.
Технические характеристики пропанового редуктора БПО 5-3
Редуктор пропановый БПО 5-3 выпускается предприятием Krass. Сохраняя общие для пропанового редуктора принципы работы, он выгодно отличается от бюджетного БПО 5-2:
- Вес 0,67 кг.
 - Длина × Ширина × Высота 164 × 108 × 136мм.
 - Рабочая температура -15+45˚С.
 - Максимальное давление на входе 25 кг/см3.
 - Рабочее давление, 4 кг/см3.
 - Максимальный расход газа 5 м3/час.
 - Способ подключения W 21,8-14 ниток на 1″ LH.
 - Рабочий выход М16х1,5 LH.
 
 
Технические характеристики пропанового редуктора БПО 5-3
Редуктор пропановый БПО 5-3 производства Krass заслуженно считается уже не любительским, а профессиональным устройством.
Следует отметить, что под именем БПО 5-3 Ridius выпускает свой пропановый редуктор и дочерняя компания Вырицкого завода металлоизделий, однако характеристики и материалы корпуса, применяемые Ridius, не позволяют отнести их продукцию к классу профессиональных.
 Назначение баллонного пропанового редуктора БПО 5-3
Пропановый редуктор БПО 5-3 используется для понижения, стабилизации и управления напором напором бытового газа, подаваемого из стандартных баллонов таким потребителям, как сварочные горелки и резаки, обогреватели и большое количество других разновидностей потребителей.
 Комплектность газового пропанового редуктора БПО 5-3
- устройство в сборе;
 - ниппель для подключения шлангов диаметром 6,3 или 9 мм;
 - гайка;
 - техпаспорт изделия;
 - упаковочная коробка.
 
 
Комплектность газового пропанового редуктора БПО 5-3
 Преимущества баллонного пропанового редуктора БПО 5-3
- точная установка рабочего давления
 - лазерное нанесение параметров на корпус
 - эргономичный регулировочный маховик
 - штрих-код производителя на корпусе упрощает учет, логистику и комплектацию заказов для продавца
 
 Устройство и принцип работы пропанового редуктора БПО 5-3
Пропановый адаптер исполнен по однокамерной схеме, однако отличается большей площадью мембраны, большим ходом штока и большим размером маховика. Все эти конструктивные преимущества позволяют точнее выставлять и регулировать рабочее давление.
Корпус пропанового редуктора выполнен целиком из латуни, что повышает прочность, надежность и удлиняет срок эксплуатации
 Меры безопасности при работе с пропановым редуктором БПО 5-3
Меры безопасности также совпадают с мерами для БПО 5-2, однако, ввиду более высокого рабочего давления необходимо тщательно следить за тем, чтобы не превысить допустимые параметры — потребителей .
Принцип действия прямого редуктора
Конструктивно все газовые редукторы для баллона с регулятором устроены аналогично, отличаясь лишь размерами прибора и отверстий, площадью мембран и размером пружин.

Конструкция обычного прямого редукционного аппарата для газа представляет собой двухкамерную (высокого и низкого давления) полость с разделителем в виде резиновой мембраны, на входе и выходе полости расположены штуцеры. В современных моделях есть еще и третий вход для подключения манометра.
Подаваемый газ движется по шлангу и, проходя через входной штуцер, попадает внутрь первой камеры. Давление топлива пытается отщелкнуть клапан, который с другой стороны поддерживает запорная пружина – она возвращает его на посадочное место. Двигаясь в этом направлении, клапан не дает газу под высоким давлением свободно поступать из баллона.
Мембрана является второй действующей силой, которая оказывает противоположное действие, пытаясь поднять клапан с посадочного места и открыть ход газу высокого давления. То есть, создается ситуация, при которой с одной стороны на мембрану давит открывающая нажимная пружина, а с другой – газ, поступивший в камеру низкого давления.
При выходе газа рабочее давление в камере понижается, и пружинка распрямляется, выталкивая клапан и позволяя новой порции газа поступать в прибор. При этом давление начинает повышаться, надавливая на пружину и возвращая клапан на свое место, тем самым перекрывая поток газа. Далее процесс повторяется.
Следует отметить, что регулируемые редукторы для газового баллона прямого типа не нашли широкого распространения из-за сложной конструкции, в отличие от обратных, которые считаются даже более безопасными.


































