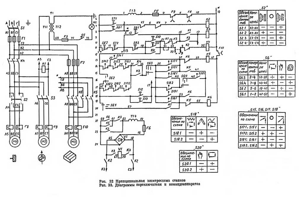
Описание схемы электрической принципиальной.
Источник питания — трехфазная сеть переменного тока, напряжением 380* 10%, частотой 50 Гц. Напряжение вторичных источников:
- а) переменного тока — 24В, 110В;
- б) постоянного тока — 56В.
Работа составных частей электрооборудования.
Работа станка в наладочном режиме.
Для зажима инструмента необходимо тумблер SA3 (на боковом пульте) ycтановить в положение «Зажим» и удерживать рукой. При этом срабатывает пускатель КМ4 который подает напряжение на двигатель механизма зажима инструментаМ4. Идет зажим инструмента. Прощелкивание муфты в механизме зажима свидетельствует об окончание зажима инструмента. Микровыключатель SQ10 своими контактами включает пускатель К5.1 который становится на самопитание, отключает двигатель М4 и подготовит цепь пуска двигателя шпинделя.
Разжим инструмента: тумблер SA3 установить в положение «Разжим»
удерживать рукой. При этом срабатывают пускатели КМ5Л. Пускатель КМ5.3 подает напряжение на двигатель М4. Идет отжим инструмента. Окончание отжим
инструмента контролируется визуально. ^ч
Во избежание получения травм при разжиме инструмента пуск шпинделя блокируется замыкающими контактами К5;
При вращающемся шпинделе разжим инструмента заблокирован размыкающими контактами К5 в цепи включения двигателя М4;
При зажиме и разжиме инструмента, с целью исключения проворачивания шпинделя, необходимо установить низкую скорость оборотов шпинделя (не выше 400 об/мин);
Для включения шпинделя необходимо нажать кнопку SB7, включаются пускатель КМ1и реле времени КТ1 и КТ2 Пускатель КМ1 подает напряжение 380В на двигатель М1, a КТ2 своими замыкающими контактами блокирует выключатель SB7.
Выключение и торможение шпинделя.
Дея выключения шпинделя необходимо нажать кнопку SB4. отключаются пускателем КМ1 и реле времени КТ1, КТ2. Через 1,2 с включится пускатель К2 который своими замыкающими контактами включит динамическое торможение шпинделя. Через 5.6 с замыкающие контакты реле времени КТ2 выключают пускатель КТ2 а К2 соответственно отключит динамическое торможение шпинделя.
Включение насоса охлаждения.
Насос охлаждения включается переключателем Q§2. 380В подается на двигатель
М2 при включенном шпинделе.
Аварийное выключение станка.
При аварии на станке нажать кнопку SB1 (SB2), которая отключает 110В в цепях управления станка.
Примечание. Для повторного включения станка необходимо:
- 1. кнопку SB1 (SB2) установить в исходное положение;
- 2. произвести зажим инструмента.
Для облегчения переключения скоростей шпинделя и подачи предусмотрено импульсное включение двигателя шпинделя Мl кнопкой SB5, двигателя подачи МЗ выключает SQ3.
Электропривод подач представляет собой электромеханическую систему. Включения и отключение подачи осуществляется рукоятками, которые имеют три фиксированных положения, а также выключателями SQ6, SQ8 для продольной; SQS, SQ7 для вертикальной или поперечной подачи.
Быстрый ход подачи происходит при нажатия кнопки SВ9, включается пускатель К3 и электромагнит быстрого хода УА. На станке электрической блокировкой исключается возможность одновременного включения продольной и поперечной или вертикальной подачи.
Регулировка пели торможения шпинделя.
Регулировка цепи торможения производится после замены или ремонта реле времени КТ1иКТ2, а также в случае, когда временные характеристики цепи торможения не соответствуют указанным.
Для проведения регулировки необходимо:
подать питание на станок;
Одновременно с выключателем шпинделя включить секундомер и остановить его при срабатывании К2. Если зафиксированное время превышает 1 сек., повернуть регулятор реле времени KT1 по часовой стрелке. Повторить включение и выключение шпинделя, добиваясь включения пускателя К2 через 1 сек. Если пускатель К2срабатывает менее , чем 1 сек. после отключения шпинделя тогда регулятор КТ1 повернуть против часовой стрелки. Регулировку реле КТ2 проводить аналогично КТ1. выключить шпиндель станка одновременно с нажатием кнопки SB4 запустить секундомер и остановить его после остановки шпинделя. Зафиксированное время не должно быть более 6 секунд.
Электрическое оборудование
В электрооборудовании станка ВМ127 можно выделить следующие три части: силовая, управляющая и модуль питания.
Силовая часть
Эта составляющая электрической схемы представлена цепями питания основного и вспомогательных электродвигателей (М1, М2 и М3) и включает в себя следующие элементы:
- Контакторы пускателей.
- Предохранительные вставки.
- Тепловые реле.
- Элементы реверса.
Благодаря этим деталям обеспечивается работоспособность всех приводных систем и требуемая функциональность оборудования.

Управляющая часть
К управляющей части электрики относятся коммутирующие элементы (реле времени) с группой слаботочных контактов, переключающих режимы работы различных узлов. Сюда же входят защитные компоненты (предохранители и катушки индуктивности).
Обратите внимание! Схемы коммутации узлов станочного оборудования приводятся в таблицах. Руководствуясь ими, можно будет выбрать требуемый режим работы
Руководствуясь ими, можно будет выбрать требуемый режим работы.
Система питания
Питающие цепи электрооборудования обеспечивают:
- Преобразование переменного напряжения в постоянный потенциал, необходимый для питания реле.
- Трансформацию напряжения 220 Вольт до уровня, требуемого для осветительного прибора (лампочки).
Они включают в себя диодный мост, выключатели, а также предохранители и понижающий трансформатор.
1 Вертикально-фрезерный станок ВМ127 – общие характеристики
На Воткинском комбинате металлорежущие агрегаты выпускались с середины 1950-х годов. Описываемый нами станок стал самой первой модификацией оборудования ВМ-серии. Его технические параметры аналогичны показателям таких агрегатов, как 6Т13, 6Р13, FSS450R, 6М13. На сегодняшний день на заводе производят более современные версии станка – ВМ130М, ВМ127М, ВМ133, но и их “предок” пользуется немалой популярностью на предприятиях, специализирующихся на мелкосерийном выпуске продукции.
Данная консольно-фрезерная установка дает возможность осуществлять качественную обработку заготовок из разных материалов (из горячекатаных и стали, цветных сплавов, всех видов чугуна).
Станок можно встраивать в многоагрегатные производственные линии (он способен функционировать в полностью автоматических и полуавтоматических циклах) либо использовать самостоятельно для обработки рамок, пазов, любых плоскостей (наклонных, горизонтальных, вертикальных), зубчатых колес, углов и так далее. Его востребованность среди малых фирм обусловлена возможностью легкой переналадки режущего инструмента и специальных приспособлений, а также простотой выполнения обслуживающих мероприятий.Станок позволяет на все сто процентов пользоваться потенциалом инструмента из .
Среди достоинств агрегата также стоит выделить:
- наличие эффективного двигателя главного движения (его мощность равняется 11 кВт), насоса СОЖ Х14-22М с производительностью 22 л/мин и мощностью 0,12 кВт, а также дополнительного двигателя привода подач (3 кВт);
- смазку оборудования в автоматическом режиме;
- высокую надежность и реальную неприхотливость применения установки в усложненных эксплуатационных условиях;
- наличие ряда механизмов, упрощающих работу с агрегатом: муфта защиты от перегрузок, блокировка включения подач по раздельной схеме, торможение шпинделя, продольная прерывистая автоматическая подача, блокировки любых типов механической и ручной подачи, упоры подачи, выполняющие выключение узлов.

Указанные преимущества обеспечивают высокую эффективность и простоту работы станочного фрезерного оборудования. Именно эти факторы важны для ситуаций, когда необходимо обрабатывать небольшие партии деталей.
Технические характеристики фрезерного станка ВМ-130В
| Наименование параметра | ВМ-130в | |
|---|---|---|
| Основные параметры станка | ||
| Класс точности по ГОСТ 8-82 | П | |
| Размеры рабочей поверхности горизонтального стола, мм | 250 х 630 | |
| Размеры рабочей поверхности вертикального стола, мм | 160 х 500 | |
| Расстояние от оси горизонтального шпинделя до стола при ручном перемещении, мм | 60..360 | |
| Рабочий стол | ||
| Максимальная нагрузка на стол (по центру), кг | 140 | |
| Число Т-образных пазов Размеры Т-образных пазов | 3 | |
| Наибольшее продольное перемещение стола (по си X), мм | 250 | |
| Наибольшее поперечное перемещение вертикальной головки механическое (по си Y), мм | 300 | |
| Наибольшее вертикальное перемещение стола (по си Z), мм | 200 | |
| Перемещение стола на одно деление лимба (продольное, поперечное, вертикальное), мм | 0.02 | |
| Скорость быстрого продольного хода стола (по си X), мм/мин | 800 | |
| Скорость быстрого поперечного хода головки (по си Y), мм/мин | 800 | |
| Скорость быстрого вертикального хода стола (по си Z), мм/мин | 800 | |
| Число ступеней рабочих подач стола | 9 | |
| Число ступеней рабочих подач шпиндельной бабки | 9 | |
| Пределы продольных рабочих подач стола (по си X), мм/мин | 10..400 | |
| Пределы поперечных рабочих подач шпиндельной бабки (по си Y), мм/мин | 10..400 | |
| Пределы вертикальных рабочих подач стола (по си Z), мм/мин | 10..400 | |
| Наибольшее усилие, допускаемое для продольной подачи (по оси X), (кгс) | 316 | |
| Наибольшее усилие, допускаемое для поперечной подачи (по оси Y), (кгс) | 572 | |
| Наибольшее усилие, допускаемое для вертикальной подачи (по оси Z), (кгс) | 498 | |
| Горизонтальный шпиндель | ||
| Частота вращения горизонтального шпинделя, об/мин | 45..2000 | |
| Количество скоростей горизонтального шпинделя | 12 | |
| Внутренний конус горизонтального шпинделя. | Морзе 4 | |
| Диаметр оправок, мм | ||
| Диаметр отверстия горизонтального шпинделя, мм | ||
| Диаметр переднего подшипника горизонтального шпинделя, мм | ||
| Торможение шпинделя | есть | |
| Предохранение шпинделя от перегрузки (муфта) | есть | |
| Сверлильно-фрезерная поворотная головка | ||
| Частота вращения шпинделя сверлильно-фрезерной поворотной головки, об/мин | 90..4000 | |
| Количество скоростей шпинделя сверлильно-фрезерной поворотной головки | 12 | |
| Наибольшее перемещение гильзы (пиноли) вертикального шпинделя, мм | 60 | |
| Механическая подача шпинделя сверлильно-фрезерной поворотной головки, мм/об | 0,05 | |
| Расстояние от торца шпинделя сверлильно-фрезерной головки до стола, мм | 335 | |
| Расстояние от оси шпинделя сверлильно-фрезерной головки до направляющих станины (вылет), мм | ||
| Внутренний конус шпинделя сверлильно-фрезерной головки. | Морзе 2 | |
| Фрезерно-расточная поворотная головка | ||
| Частота вращения шпинделя фрезерно-расточной поворотной головки, об/мин | 45..2000 | |
| Количество скоростей шпинделя фрезерно-расточной поворотной головки | 12 | |
| Расстояние от торца шпинделя фрезерно-расточной головки до стола, мм | 330 | |
| Расстояние от оси шпинделя фрезерно-расточной головки до направляющих станины (вылет), мм | ||
| Угол поворота фрезерно-расточной головки в вертикальной плоскости, мм | ±90 | |
| Внутренний конус шпинделя фрезерно-расточной поворотной головки. | Морзе 4 | |
| Привод | ||
| Количество электродвигателей на станке | 2 | |
| Электродвигатель привода главного движения, кВт | 2,2 | |
| Электродвигатель насоса охлаждающей жидкости, кВт | 0,12 | |
| Габариты и масса станка | ||
| Габариты станка (длина ширина высота), мм | 1400 х 1000 х 1720 | |
| Масса станка, кг | 930 |
Список литературы:
Станок фрезерный специализированный высокой точности ВМ130В. Руководство по эксплуатации ВМ130В 61.00.000, 1977
Аврутин С.В. Основы фрезерного дела, 1962
Аврутин С.В. Фрезерное дело, 1963
Ачеркан Н.С. Металлорежущие станки, Том 1, 1965
Барбашов Ф.А. Фрезерное дело 1973, с.141
Барбашов Ф.А. Фрезерные работы (Профтехобразование), 1986
Блюмберг В.А. Справочник фрезеровщика, 1984
Григорьев С.П. Практика координатно-расточных и фрезерных работ, 1980
Копылов Р.Б. Работа на фрезерных станках,1971
Косовский В.Л. Справочник молодого фрезеровщика, 1992, с.180
Кувшинский В.В. Фрезерование,1977
Ничков А.Г. Фрезерные станки (Библиотека станочника), 1977
Пикус М.Ю. Справочник слесаря по ремонту металлорежущих станков, 1987
Плотицын В.Г. Расчёты настроек и наладок фрезерных станков, 1969
Плотицын В.Г. Наладка фрезерных станков,1975
Рябов С.А. Современные фрезерные станки и их оснастка, 2006
Схиртладзе А.Г., Новиков В.Ю. Технологическое оборудование машиностроительных производств, 1980
Тепинкичиев В.К. Металлорежущие станки, 1973
Чернов Н.Н. Металлорежущие станки, 1988
Френкель С.Ш. Справочник молодого фрезеровщика (3-е изд.) (Профтехобразование), 1978
Связанные ссылки. Дополнительная информация
Главная
О компании
Новости
Статьи
Прайс-лист
Контакты
Справочная информация
Скачать паспорт
Интересное видео
Деревообрабатывающие станки
КПО
Производители
1 Вертикально-фрезерный станок ВМ127М – паспорт, характеристики
Создан данный агрегат был на базе станка ВМ127. Устройство цифровой индикации (УЦИ) и технические параметры агрегата дают возможность выполнять на нем качественную и точную обработку чугунных и стальных изделий, а также деталей из цветных сплавов. Станок применяется для фрезерования любых плоскостей (включая и наклонные), колес с зубцами, рамок, любых видов пазов в условиях частного производства, а также средне- и мелкосерийного.
Рабочий стол установки (его ширина равняется 400, длина 1600 миллиметрам) способен принимать нагрузки массой до 800 килограммов. По стандарту 8–-82 класс точности станка – «Н». В продольном направлении рабочая поверхность описываемой установки способна перемещаться на 1010 мм; в поперечном – на 300 мм при механической подаче и на 320 мм при ручной; в вертикальном – на 400 и 420 мм (механический и ручной режим соответственно).
Паспорт станка дает следующую информацию по его шпинделю:
- конус – 50АТ5;
- частота вращения – от 40 до 2000 об/мин;
- число скоростей – 18;
- максимальное перемещение пиноли по оси – 80 мм;
- возможен поворот головки на 45 градусов в обе стороны от оси;
- один оборот лимба соответствует передвижению пиноли на 4 мм.
Механические характеристики агрегата:
- интервал подач при фрезеровании: 25–1250 мм/мин (продольное и поперечное направление), 8,3–416,6 мм/мин (вертикальное);
- ступени подач – 18;
- быстрый ход – 1000 (вертикальное перемещение) и 3000 мм/мин (продольное и поперечное);
- наличие выключающих упоров, системы блокировки подач, прерывистой подачи, защиты от перегрузок, устройства торможения шпинделя.
Общий вес оборудования – 4250 кг, длина станка – 256, ширина – 226, высота – 243 см.
Станок легко настраивается на разные варианты полуавтоматических и автоматических циклов. Это позволяет использовать его в составе производственных линий, состоящих из множества агрегатов. Он отличается качественным подбором передаточных отношений и достаточно мощным электродвигателем. За счет этого на станок допускается установка инструмента из быстрорежущих сталей.
Стоит отметить и то, что данный агрегат можно использовать в жестких эксплуатационных условиях. Он неприхотлив в обслуживании. Любой квалифицированный специалист способен при необходимости выполнить регулировку механизмов агрегата, а также самостоятельно выполнить его ремонт. Это обуславливает востребованность станка малыми предприятиями, которые заняты производством различной продукции мелкими партиями.
3 Кинематика и электрическое оборудование консольно-фрезерного агрегата
Фланцевый электрический двигатель выполняет привод главного перемещения, используя для этих целей соединительную упругую муфту. 18 разных скоростей шпинделю сообщает коробка скоростей. А изменить количество его оборотов можно посредством зубчатых блоков (их в станке предусмотрено три), которые требуется передвигать по шлицевым валам.
Фланцевый двигатель также производит привод подач. Зубчатое передвижное колесо и трехвенцовые блоки (в конструкции установки их смонтировано два) передают 18 подач в консоль через предохранительную шариковую муфту. После этого они могут направляться к винтам вертикального, поперечного и продольного передвижения путем включения муфты кулачкового типа.

Если оператор инициируют фрикцион быстрого хода, появляется возможность задать станку ускоренные перемещения.
Муфта подач сблокирована с этим фрикционом, поэтому одновременно начать работать они не могут. Вращение фрикциона выполняется напрямую от двигателя подач через зубчатые промежуточные колеса. Отметим, что продольные подачи всегда в три раза больше, чем вертикальные.
Шпиндель установки размещен в выдвижной гильзе, выполнен он в виде вала с двумя опорами. В процессе эксплуатации может возникнуть необходимость корректировки люфта (осевого) в шпинделе. Сделать это несложно посредством подшлифовки колец, имеющихся в конструкции агрегата. Если же требуется корректировка переднего подшипника (в нем также нередко отмечается повышенный люфт), можно подтянуть гайку данного узла либо осуществить подшлифовку полуколец.
Базовым компонентом станка является станина. Она крепится на основании по жесткой схеме и при помощи штифтов надежно фиксируется. Станина служит площадкой для размещения всех остальных элементов и узлов фрезерной установки.
Не меньшее значение для адекватного функционирования агрегата имеет и его поворотная головка. Ее соединяют четырьмя болтами с горловиной станины, в кольцевой выточке которой она центрируется. Болты входят в фланцевый паз, характеризуемый Т-образной конфигурацией.

Отдельно скажем об электрическом оснащении описываемого станка. Оно имеет следующие характеристики:
- 24-вольтное локальное освещение;
- 63-амперный ток (номинальное значение) автоматического выключателя и предохранителей, выполняющих защитную функцию;
- 20-амперный суммарный ток, работающих одновременно электрических двигателей, коих на станке установлено три;
- 65-вольтное напряжение постоянного и 110-вольтное переменного тока в цепях управления.
Электрооборудование работает при стандартной частоте тока (50Гц) под напряжением 380 В.
Российский вертикально-фрезерный консольный ВМ127М является аналогом станков 6Р13, 6Т13, FSS450R и предназначен для фрезерования всевозможных деталей из стали, чугуна и цветных металлов и сплавов торцевыми, концевыми, цилиндрическими, радиусными и другими фрезами.
На станке ВМ127М можно обрабатывать вертикальные, горизонтальные и наклонные плоскости, пазы, углы, рамки и т.д.
Принципиальные изменения произошедшие с конструкцией станка ВМ127М в 2012г.
- Изменена конструкция вертикальных направляющих станины с профиля «Ласточкин хвост» на П-образный профиль, что позволило увеличить массу обрабатываемой детали до 800 кг
- Заменена механическая коробка подач на бесступенчатое регулирование (Серводигатель), для более точной и быстрой настройки режимов резания, и повышению производительности обработки.
- При изготовлении станка с устройством цифровой индикации заменены комплектующие на импортного производителя с использованием магнитных линеек вместо оптических.
Техническая характеристика и жесткость станка позволяет полностью использовать возможности быстрорежущего и твердосплавного инструмента.
По отдельному заказу за дополнительную плату станок ВМ127М может быть оснащен комплектом дополнительных принадлежностей 127-13 .
Простота обслуживания и быстрая переналадка приспособлений и инструмента представляют значительные удобства при использовании станка в мелкосерийном производстве.
Прямоугольные направляющие консоли, пришедшие на смену направляющим типа “ласточкин хвост”, увеличили жесткость конструкции станка и позволили увеличить масса обрабатываемых деталей до 800 кг.
Автоматическая система смазки узлов обеспечивает неприхотливость и надежность станка в самых жестких условиях эксплуатации.
Станок ВМ127М за доп. плату комплектуется устройством цифровой индикации перемещения стола.
Станок ВМ127М сертифицирован на соответствие требованиям ГОСТ 12.2.009, ГОСТ Р МЭК 60204-1-99. ТУ3-178М-89
Климатические условия УХЛ4 ГОСТ 15150-69.
Пульты управления фрезерным станком 6Т12-1

Пульты управления фрезерным станком 6Т12-1: основной -II, боковой -I
Перечень органов управления консольно-фрезерным станком 6Т12-1
- Указатель скоростей шпинделя
- Кнопка “Перемещение стола назад, вперед, вниз”
- Переключатель выбора направления перемещения стола
- Переключатель “Зажим-Отжим инструмента”
- Кнопка “Перемещение стола вперед, влево, вверх”
- Кнопка “Толчок шпинделя” (дублирующая)
- Кнопка “Стоп перемещения стола”
- Кнопка “Пуск шпинделя”
- Кнопка “Стоп шпинделя” (дублирующая)
- Кнопка “Стоп” аварийная
- Кнопка “Быстрое перемещение стола” (дублирующая)
- Рукоятка переключения скоростей шпинделя
- –
- Шестигранник поворота головки
- Рукоятка зажима гильзы шпинделя
- Клавиша “Перемещение стола влево”
- Клавиша “Перемещение стола вправо”
- Клавиша “Стоп продольного перемещения стола”
- Кнопка “Стоп шпинделя”
- Кнопка “Пуск шпинделя”
- Зажимы стола
- Переключатель включения режима работы стола “Ручной – Механический”
- Маховик ручного продольного перемещения стола
- Кольцо-нониус
- Лимб механизма поперечных перемещений стола
- Ручное поперечное перемещение стола
- Ручное вертикальное перемещение стола
- Грибок переключения подач
- Кнопка “Стоп” аварийная
- Переключатель выбора режима работы станка
- Переключатель “Замедленная подача”
- Кнопка “Быстрое перемещение стола и пуск цикла”
- Клавиша “Стоп вертикального перемещения стола”
- Клавиша “Перемещение стола вниз”
- Зажимы салазок
- Клавиша “Перемещение стола вверх”
- Маховик ручного продольного перемещения стола (дублирующий)
- Клавиша “Стоп поперечного перемещения стола”
- Клавиша “Перемещение стола вперед”
- Клавиша “Перемещение стола назад”
- Маховик выдвижения гильзы шпинделя
- Зажим головки на станине
- Вводной выключатель
- Переключатель направления вращения шпинделя “Влево – Вправо”
- Переключатель насоса охлаждения «Включено – Выключено»
- Переключатель выбора пульта управления
- Переключатель выбора автоматических циклов
- Зажим консоли
- Рукоятка съемная ручного вертикального и поперечного перемещения стола
- Штифт нулевой фиксации головки
3 Электрооборудование станка – описание и особенности
Фрезерная установка ВМ127М располагает рядом выключателей:
- блокировки подач при зажиме фрезы и основного перемещения;
- привода рабочего стола (два органа управления – «влево-вправо» и «вверх-вниз»);
- насоса охлаждения;
- вводного;
- импульсного запуска привода подач при изменении оператором скорости работы агрегата.
Также на станке имеется несколько специальных пускателей, которые:
- устанавливают показатель торможения шпинделя;
- регулируют включение главного привода после того, как фреза была зафиксирована специальным зажимом;
- запускают торможение (динамическое) шпиндельного механизма;
- подключают к электродвигателю, приводу подач и насосу охлаждения напряжение 380 вольт;
- устанавливают время между включением и торможением шпинделя;
- запускают быстрый ход.

Станок располагает двумя пультами управления. На переднем пульте имеются следующие органы управления оборудованием:
- «Перемещение подач в ускоренном режиме»;
- «Остановка шпинделя»;
- «Аварийное отключение»;
- «Запуск шпинделя».
На боковом пульте находятся такие пускатели:
- «Запуск охлаждающего насоса»;
- «Импульсный запуск шпинделя»;
- «Отключение при аварии»;
- «Разжим и зажим фрезы».
Питается электрооборудование станка от сети 380 В (три фазы), а питание вторичных источников осуществляется от постоянного (56 В) и переменного (110 В, 24 В) тока.

Электрический привод подач описываемого в этой статье фрезерного оборудования — надежный электромеханический комплекс. Отключение и запуск подачи в нем производится при помощи рукояток с тремя положениями. Для включения режима быстрого хода предусмотрена отдельная кнопка.
Одновременный запуск различных по направлению подач исключается за счет устройства электрической блокировки. В целом электрооборудование станка построено по несложной схеме, поэтому мелкие его неисправности способен отремонтировать любой фрезеровщик.
https://youtube.com/watch?v=IBMdWWtP4do
























































